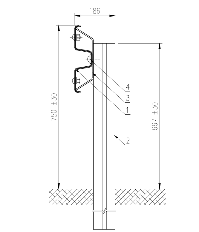
N2W3A ze słupem co 2mb
Poziom powstrzymywania: N2
Intensywność zdarzenia: A
Znormalizowana szerokość pracująca: W3
Znormalizowane ugięcie dynamiczne: DN = 1,0m
Trwałość: cynkowanie wg normy EN ISO 1461 lub EN 10346
Zapytaj o ofertę !
- mail: brd@fhu-galt.pl
- telefon: +48 537 094 225
Opis
Bariera drogowa N2 W3 A – solidna ochrona z rozstawem słupków co 2,0 m
Bariera drogowa N2 W3 A to nowoczesny system zabezpieczający, który łączy wysoką skuteczność powstrzymywania pojazdów z efektywnością kosztową, stanowiąc idealny wybór dla projektów drogowych wymagających kompromisu między bezpieczeństwem a optymalizacją nakładów inwestycyjnych. System został zaprojektowany zgodnie z wymaganiami normy EN 1317-5:2007 + A2:2012 oraz wytycznymi Generalnej Dyrekcji Dróg Krajowych i Autostrad, co gwarantuje jego pełną zgodność z obowiązującymi przepisami i dopuszczenie do stosowania na drogach publicznych w Polsce.
Parametry techniczne systemu N2 W3 A:
-
Poziom powstrzymywania: N2 – skuteczne zatrzymanie pojazdów osobowych oraz lekkich pojazdów ciężarowych.
-
Klasa szerokości pracującej: W3 – znormalizowana szerokość pracująca wynosi 1,0 m, co zapewnia odpowiednią odległość roboczą pomiędzy barierą a przeszkodą lub krawędzią jezdni.
-
Poziom intensywności zderzenia: A – oznacza niskie obciążenie pasażerów podczas uderzenia, zwiększając szanse przeżycia w razie kolizji.
-
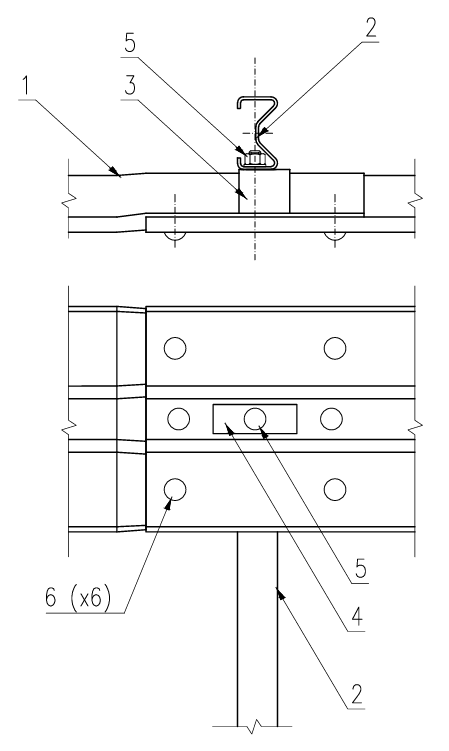
Rozstaw słupków: co 2,00 m, co pozwala na ograniczenie ilości elementów wsporczych bez pogorszenia parametrów technicznych – niższy koszt materiału i szybszy montaż.
-
Typ prowadnicy: A – standardowa falista prowadnica stalowa gwarantująca odpowiednie pochłanianie energii uderzenia i stabilność konstrukcji.
-
Testowana długość systemu: 60 m – zapewnia zgodność z wymaganiami testowymi normy EN 1317.
-
Odporność na korozję: dzięki zastosowaniu ocynku ogniowego zgodnie z EN ISO 1461 lub blachy powlekanej zgodnie z EN 10346, system odznacza się wysoką trwałością eksploatacyjną i odpornością na warunki atmosferyczne.
-
Klasa śniegowa: opcjonalna, możliwość dostosowania systemu do klasy 3 odporności na odśnieżanie (na życzenie inwestora).
-
Kompatybilność z osłoną przeciwolśnieniową: możliwa w wariantach rozbudowanych – system może być dostosowany do montażu osłon przeciwoślepieniowych.
Zastosowanie systemu barier drogowych N2 W3 A:
Bariera ta znajduje zastosowanie przede wszystkim na drogach:
-
krajowych klasy GP i S,
-
obwodnicach miejskich,
-
dojazdach do mostów i wiaduktów,
-
w miejscach, gdzie ograniczona przestrzeń przy jezdni wymaga stosowania barier o niewielkiej szerokości roboczej, przy jednoczesnym zachowaniu skuteczności działania.
Dlaczego warto wybrać barierę N2 W3 A z rozstawem słupów 2,0 m?
-
✅ Niższe koszty materiałowe i montażowe – większy rozstaw słupków oznacza mniej elementów, co przekłada się na krótszy czas instalacji oraz mniejsze zużycie materiałów.
-
✅ Sprawdzona skuteczność – klasa N2 zapewnia zatrzymanie pojazdu osobowego poruszającego się z prędkością 110 km/h przy kącie najazdu 20°, co potwierdzają testy dynamiczne zgodne z normą EN 1317.
-
✅ Zwiększone bezpieczeństwo kierowców i pasażerów – niski poziom intensywności zderzenia klasy A oznacza mniejsze przeciążenia oddziałujące na pasażerów pojazdu.
-
✅ Odporność na warunki atmosferyczne i uszkodzenia mechaniczne, dzięki zastosowaniu cynkowania ogniowego.
-
✅ Możliwość dostosowania systemu do lokalnych wymogów projektowych, w tym montaż osłon przeciwolśnieniowych lub integracja z innymi typami barier (np. mostowymi lub energochłonnymi końcówkami).











