Bariera drogowa N2W3A

Poziom powstrzymywania: N2

Intensywność zdarzenia: A

Znormalizowana szerokość pracująca: W3

Znormalizowane ugięcie dynamiczne: DN = 0,9m

Trwałość: cynkowanie wg normy EN ISO 1461 lub EN 10346

Zapytaj o ofertę !

  • Znak "check" mail: brd@fhu-galt.pl
  • Znak "check" telefon: +48 537 094 225

Opis

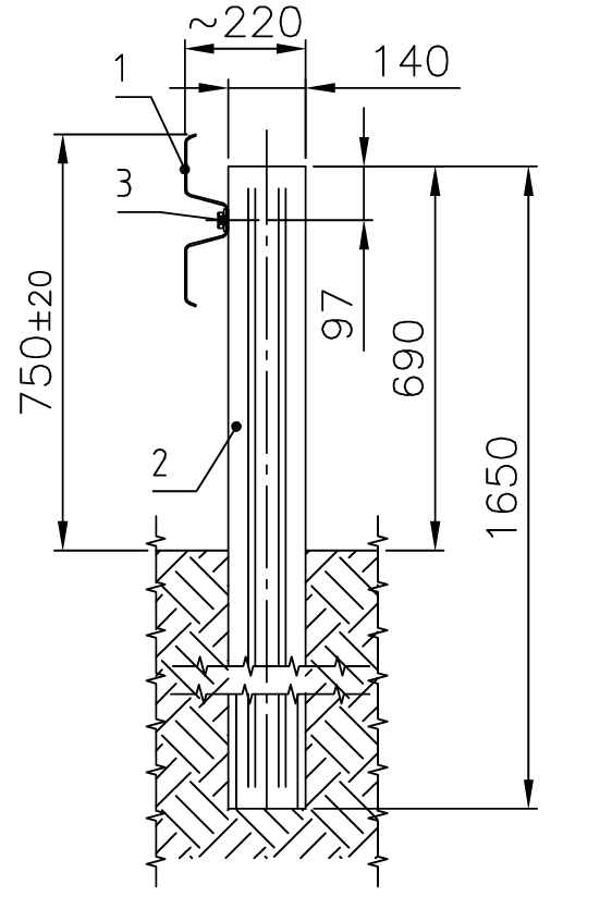
Bariera drogowa stalowa N2 – szerokość pracująca W3

System barierowy o poziomie powstrzymywania N2 i klasie szerokości roboczej W3 to rozwiązanie techniczne o zwiększonej skuteczności przy średnim zakresie odkształceń. Znormalizowana szerokość pracująca wynosi 1,0 m, przy dynamicznym odkształceniu 0,9 m. System osiąga klasę wtargnięcia VI5, co oznacza maksymalne wtargnięcie pojazdu na poziomie 1,7 m – doskonały wynik w tej klasie zabezpieczeń.

Bariera ma standardową wysokość 0,75 m i szerokość 0,22 m, a jej stabilność zapewniają słupki montowane co 4,00 m, o długości 1,65 m. System oparty na profilach typu A i B umożliwia szybki montaż i łatwą integrację z osłonami przeciwolśnieniowymi – co potwierdza jego zgodność z wymaganiami wizualnego bezpieczeństwa.

System przetestowany na długości 40 m zgodny jest z normą EN 1317-5:2007 + A2:2012, a jego trwałość potwierdzają normy EN ISO 1461 i EN 10346. Dodatkowo, bariera posiada Deklarację Środowiskową Produktu (EPD) nr 325/2022, co czyni ją wyborem przyjaznym środowisku i odpowiednim do projektów zrównoważonego budownictwa drogowego.